- НаличиеВ наличии
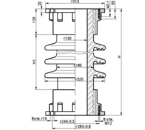
Фарфоровые армированные покрышки ПНК предназначены для надежной изоляции выводов конденсаторов связи в высоковольтном оборудовании. Они обеспечивают безопасную и стабильную работу устройств в электрических сетях.
Изделия эффективно защищают от пробоя и утечки тока, повышая общую надежность и долговечность электроустановок. Их использование минимизирует риски аварий и сокращает затраты на обслуживание.
Покрышки отличаются высокими качественными характеристиками: механической прочностью, стойкостью к атмосферным воздействиям (УХЛ1) и отличными диэлектрическими свойствами. Доступны варианты на разное напряжение: 3 кВ, 6 кВ и 10 кВ с длиной пути утечки 13, 22 и 30.5 см соответственно.
Мы предлагаем широкий выбор марок: ПНК-3 УХЛ1, ПНК-6 УХЛ1, ПНК-10 УХЛ1. Возможна доставка по всей Беларуси. Для юридических лиц — безналичный расчет.
Нет отзывов об этом товаре.
Пока нет вопросов об этом товаре. Станьте первым!
